菜单
首页
关于我们
产品中心
行业应用
技术实力
新闻资讯
联系我们
EN
关于道田
公司简介
企业文化
发展历程
荣誉资质
团队风采
产品中心
真空标准件
非标件定制
真空标准件
CF法兰系列
VG-VF法兰系列
NW法兰系列
ISO法兰系列
支架系列
转换法兰系列
真空阀门系列
流体法兰系列
非标件定制
真空系统定制
真空管道腔室炉体
行业应用
光伏行业应用
半导体应用
OLED应用
回旋加速器应用
航空航天应用
技术实力
硬件设施
资源共享
新闻资讯
企业动态
行业新闻
联系我们
合作共赢
招贤纳士
联系方式
Close
首页
关于道田
公司简介
企业文化
发展历程
荣誉资质
团队风采
产品中心
真空标准件
非标件定制
行业应用
光伏行业应用
半导体应用
OLED应用
回旋加速器应用
航空航天应用
技术实力
硬件设施
资源共享
新闻资讯
企业动态
行业新闻
联系我们
合作共赢
招贤纳士
联系方式
中文
中文
英文
产品中心
products
真空标准件
CF法兰系列
VG-VF法兰系列
NW法兰系列
ISO法兰系列
支架系列
转换法兰系列
真空阀门系列
流体法兰系列
半卡钳螺钉
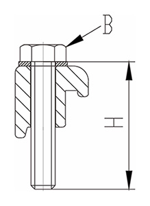
截面图:
详细信息
下载
ISO半卡钳
Model No
ISO63-100
ISO160-250
ISO320-500
H
35
35
50
B
M8
M10
M12
Material
Aluminum
Aluminum
Aluminum
Parts No
DI0111
DI0112
DI0113
上一个:波纹管
下一个:卡钳螺钉